Реклама...

    


 
главная авиация второй мировой истребители
   Як-7Б
       
Разработчик: ОКБ Яковлева
Страна: СССР
Первый полет: 1942
Тип: Истребитель
  ЛТХ     Доп. информация
   


Як-7Б М-105ПА представлял собой дальнейшее развитие серийного Як-7А и отличался от него более мощным вооружением и аэродинамическими усовершенствованиями.  

Вооружение Як-7Б состояло из мотор-пушки ШВАК с боезапасом 120 снарядов и двух синхронных пулеметов УБС с общим боезапасом 400 патронов (левый пулемет - 260, правый - 140). Кроме того, в перегрузку под крылом можно было подвешивать шесть РС-82 или две бомбы от 25 до 100 кг каждая. Вооружение успешно прошло испытания на Як-7Б N22-03 в июне 1942 г. Для отстрела вооружения было выполнено 25 полетов общей продолжительностью 7 ч 57 мин. Согласно постановлению ГКО от 10 мая 1942 г. Як-7Б выпускался без РСов.  

На Як-7Б были выполнены в полном объеме рекомендации ЦАГИ по улучшению аэродинамики. Помимо сделанного на Як-7А были осуществлены следующие мероприятия.  

Для более полного использования скоростного напора и повышения границ высотности самолета улучшены всасывающие патрубки двигателя. Вход в патрубки выполнен заподлицо с поверхностью зализов крыла и слегка отогнут вниз. Сетка наклонена и утоплена внутрь. Произведена герметизация каналов.  

Хвостовое колесо сделано полностью убирающимся по типу УТИ-26-2, гнездо для него в фюзеляже закрывалось двухстворчатыми боковыми щитками вместо одного лобового. Улучшена внешняя отделка самолета, а также подгонка щитков, зализов, лючков, секций капота двигателя и т.д. Для увеличения числа оборотов двигателя с 2350...2600, 2550...2700 об/мин, что было необходимо для улучшения взлетных и других характеристик самолета, из втулки винта вынуто регулировочное кольцо, в результате чего угол установки лопастей винта ВИШ-61П на малом газе уменьшился с 23 до 20*.  

Для снижения температур воды и масла до допустимых пределов и обеспечения тем самым возможности использования номинального числа оборотов двигателя на взлете, наборе высоты и в горизонтальном полете на максимальной скорости установлены усовершенствованные туннели водо- и маслорадиаторов.  

Стенки заслонки водорадиатора сделаны более высокими, благодаря чему ликвидированы "ножницы" между туннелем и заслонкой. Выходная часть туннеля маслорадиатора опущена вниз.  

Летные характеристики Як-7Б, несмотря на наличие мачты антенны радиостанции, установку нового вооружения, повлекшего более сильное искажение верхней секции капота двигателя и увеличение полетной массы по сравнению с Як-7А и УТИ-26-2, были значительно выше, чем у Як-7А и практически одинаковы с характеристиками УТИ-26-2.

После замены пулеметов ШКАС на УБС по мощности огня Як-7Б вполне соответствовал запросам фронта и мог быть более эффективно, чем Як-7А и другие самолеты, использован как по воздушным, так и по наземным целям. Секундная масса залпа достигла 2,72 кг/с и превосходила характеристику Як-1, Як-7 и Як-7А в 1,57 раза, ЛаГГ-З поздних выпусков - в 1,36 раза, МиГ-З - в 2,26...2,56 раза, Ла-5 - в 1,55 раза, Me-109F - в 2,87 раза и Me-109G-2 (трехточечный) - в 1,62 раза.

Эталон Як-7Б М-105ПА на 1942 г. (самолет N14-13) проходил совместные заводские и государственные испытания на аэродроме новосибирского завода N153 с 28 января по 5 февраля 1942 г.  В отчете по госиспытаниям Як-7Б отмечалось, что по сравнению с самолетом Як-1, хорошо зарекомендовавшим себя на фронте, самолет Як-7Б в конструктивном отношении является более совершенным и перспективным... В отличие от некоторых других истребительных самолетов, состоящих на вооружении ВВС Красной Армии, самолет Як-7 за время нахождения в серийном производстве непрерывно улучшался конструктивно и оснащался новым более мощным вооружением (РО, пулеметы УБС) и спецоборудованием (фара, приемо-передающая радиостанция, радиополукомпас и др.), не теряя при этом своих боевых и летных данных. Это положительное явление имело место благодаря умелому подходу к вопросу оснащения самолета новым вооружением и спецоборудованием и систематической работе ОКБ по улучшению летных данных серийных самолетов.  

На основании сравнения Як-7Б с ЛаГГ-З, МиГ-З, И-16, И-153, Me-109F, Me-110, He-100, а также с некоторыми американскими и английскими истребителями, поступавшими в Советский Союз, ЛИИ сделал заключение, что в отношении устойчивости и управляемости самолет Як-7Б М-105ПА не только не уступает, но и превосходит лучшие образцы отечественных и иностранных истребителей.  

После госиспытаний было принято решение ГКО о переводе серийного производства с Як-7А на Як-7Б. Самолеты Як-7Б М-105ПА выпускались на заводе N 153 с апреля по июль 1942 г. и всего был построен 261 самолет. Эти самолеты хорошо проявили себя в боях под Сталинградом и на Кубани.

Увеличение массы вооружения приводило к смещению центровки вперед и недопустимому уменьшению противокапотажного угла. Поэтому во избежание капотирования самолета с 20 мая 1942 г. в задней кабине устанавливался дополнительный бензобак, вместимостью 80 л (60 кг). Летчики были недовольны установкой такого бензобака, к тому же непротектированного, поскольку это увеличивало полетную массу и, следовательно, ухудшало летные качества самолета и, кроме того, увеличивало пожарную опасность. В период Сталинградской битвы этот бак был признан ненужным, и для облегчения его повсеместно снимали с самолетов без всяких на то указаний сверху. Официально это было санкционировано постановлением ГКО от 22 сентября и от 1 октября 1942 г.  

Командир и военком 202 иад Янсен и Лобан, давая оценку боевым качествам самолета Як-7Б по опыту использования, писали, что самолет Як-7Б по своим летно-тактическим данным и вооружению является наилучшим самолетом-истребителем ВВС КА, особенно в сравнении с самолетами ЛаГГ-З и МиГ-З. Самолет Як-7Б прост во всех видах техники пилотирования, в полете устойчив, прост в эксплуатации. Из опыта многих воздушных боев можно сделать следующие выводы: 1. Як-7Б легко ведет воздушный бой с Me-109 на виражах и на вертикалях. На горизонтальных фигурах Як-7Б имеет преимущество и быстро заходит в хвост Me-109. По горизонтальным скоростям Як-7Б и Me-109 одинаковы. 2. От Me-109F Як-7Б отстает на вертикальных фигурах. Объясняется это тем, что Як-7Б медленно набирает скорость, а Me-109F "ходит за газом". По горизонтальной скорости Як-7Б уступает Me-109F, на пикировании также отстает, хотя практически по горизонтали и на пикировании нашим летчикам приходилось гнаться за Me-109F очень короткое время, поэтому полных выводов сделать нельзя. Возможно, при продолжительном горизонтальном полете и пикировании Як-7Б может догнать Me-109F.  

Основные недостатки Як-7Б: 1. Тяжел, что затрудняет быстрый набор скорости. 2. Имеет большое сопротивление за счет водяного и масляного радиаторов. 3. Не имеет обзор назад. 4. Плохой целлулоид в фонаре, что затрудняет наблюдение и не дает возможности летать с закрытым колпаком. 5. Двигатель (особенно не форсированный) не соответствует по своей мощности массе самолета. 6. При стрельбе приходится снимать руку с сектора газа и переносить на гашетки, что ухудшает управление самолетом, а также сбивает точность прицела. 7. Длины пробега и разбега самолета велики, что требует хороших "площадок" по длине .  

Як-7Б с форсированным двигателем М-105ПФ являлся фронтовым истребителем и отличался от своего предшественника Як-7Б М-105ПА, главным образом, мощностью двигателя, увеличенной со 1050 до 1180 л.с. Повышение мощности у земли и на средних высотах было достигнуто за счет изменения регулировки автоматического регулятора наддува Р-7 в сторону увеличения давления наддува p_k с 910 до 1050 мм рт.ст.  

Для обеспечения надежной работы на форсированном режиме были усилены поршневые пальцы и изменена регулировка карбюраторов. Других конструктивных отличий от М-105ПА двигатель М-105ПФ не имел.

Инициатива форсирования по наддуву двигателя М-105ПА принадлежала ОКБ А.С.Яковлева, которое в начале 1942 г. на серийном самолете Як-7А N22-41 провело эксперименты по увеличению давления наддува двигателя последовательно до 950, 1000 и 1050 мм рт.ст. и по определению в полете влияния, которое оказывало это увеличение на максимальную скорость и другие характеристики самолета.  

Результаты экспериментов оказались весьма обнадеживащими и послужили основанием для принятия правительственного решения, обязывающего В.Я.Климова в кратчайший срок осуществить перевод двигателя М-105ПА с нормального на форсированный режим работы.  

Кроме установки форсированного двигателя на самолет Як-7Б (с 22-й серии) осуществлен ряд мероприятий, направленных на улучшение аэродинамики и уменьшение полетной массы самолета, в основном за счет улучшения и облегчения элементов конструкции, без уменьшения прочности и нанесения ущерба боевым и эксплуатационным качествам самолета.  

Главные изменения были следующие: облегчена ферма фюзеляжа; упрощен и облегчен механизм подъема сидения (сидение регулировалось только на земле); установлена новая мягкая и более легкая спинка сидения, плексиглас на откидном колпаке задней кабины заменен на фанеру; сняты причальные узлы; облегчены каркас и обшивка куполов колес в крыле; заново выполнена опалубка фюзеляжа, облегчено шасси (убраны буксировочные кольца, установлены новые верхние стаканы и полуоси; сняты реактивные орудия и проводка к ним; в связи с форсированием двигателя во втулку винта введено дополнительное регулировочное кольцо, в результате чего угол установки лопастей винта на малом шаге увеличен с 20 до 23*; снята система пневмоперезарядки пушки.  

По вооружению отличий от Як-7Б М-105ПА не было; по спецоборудованию разница состояла лишь в том, что кабина летчика была выполнена в полном соответствии с требованиями к стандартной кабине истребителя. В отчете по госиспытаниям Як-7Б М-105ПФ отмечалось, что по своему объему и размещению, равно как и по культуре монтажа, спецоборудование самолета Як-7Б стоит на одном из первых мест среди аналогичных типов самолетов как отечественного производства, так и самолетов противника.  

У Як-7 с М-105ПФ стала меньше дальность полета на скоростях, близких к максимальным. Так, на скорости 0,9 максимальной на второй границе высотности дальность уменьшилась с 700 до 645 км. Однако на режимах работы форсированного двигателя, сходных с режимами М-105ПА, дальность полета практически не изменилась.  

Як-7Б N22-41 с установленным на него форсированного двигателя М-105ПФ проходил госиспытания в НИИ ВВС с 30 мая по 9 июня 1942 г. Было выполнено 36 полетов общей продолжительностью 23 ч.

В 1943 г. на новосибирском заводе были проведены контрольные испытания 13 самолетов Як-7Б М-105ПФ - на 0,6 мин меньше. На основании анализа полученных данных был сделан вывод о том, что в 1943 г. новосибирским заводом постановления ГКО от 2 ноября и 9 декабря 1942 г. по максимальным скоростям Як-7Б с форсированным двигателем выполнены.  

В том же 1943 г. проводились совместные (ОКБ и ЛИИ) испытания Як-7Б 31-й серии (N31-01) с форсированным двигателем. Основные отличия самолета: антенна и мачта антенны убрана внутрь фюзеляжа; носки крыла и оперения отполированы на 30% хорды; установлены реактивные выхлопные патрубки двух вариантов: ОКБ - 8 шт. и НИИ ВВС - 12 шт. Патрубки заключены в обтекатели по типу Me-109; произведена тщательная герметизация кока винта и всего самолета для исключения протоков воздуха и уменьшения сопротивления; улучшена подгонка находящихся в потоке воздуха деталей; произведены работы, обеспечивающие полную уборку в полете хвостового колеса размером 300х125 мм, гнездо для него закрывалось двухстворчатыми щитками; ликвидированы щели между рулями и т.д.  

Проведенное улучшение аэродинамики Як-7Б М-105ПФ давало ему преимущество перед трехточечным Me-109G-2 у земли на 23 км/ч и на высоте 1000 м - на 16 км/ч. На высоте 5000 м Me-109G-2 превосходил в скорости Як-7Б М-105ПФ на 23 км/ч. Выше 5000 м преимущество в скорости Me-109G-2 становилось еще более заметным и достигало 80 км/ч.  

Як-7Б М-105ПФ серийно выпускался на двух заводах - новосибирском N153 с августа 1942 г. (с 22-й серии) по декабрь 1943 г. (по 50-ю серию) и на московском N82 - с мая 1942 г. (с 1-й серии) по июль 1944 г. (по 28-ю серию). Самолеты завода N82 имели полетную массу на 25...30 кг больше, а максимальную скорость на 15 км/ч меньше, чем самолеты завода N153.  

Всего выпущено 5120 самолетов Як-7Б М-105ПФ. Впервые они приняли участие в боевых действиях в августе 1942 г. под Сталинградом.  

Непосредственно на фронте бригадой ОКБ А.С.Яковлева была выполнена работа по улучшению обзора назад из кабины Як-7 М-105ПФ - срезан гаргрот, фонарю придана каплеобразная форма. С 17 ноября по 13 декабря 1942 г. на Северо-Западном фронте в 42 иап (командир Ф.И.Шинкаренко) 240 иад 6 ВА проводились войсковые испытания на боевое применение.  

Итоги испытаний: 242 самолето-вылета, 6 воздушных боев, сбито 4 самолета противника, в том числе: Me-109F - 2, He-126 - 1 и FW-189 - 1; свои потери - один Як-7Б. Кабина с улучшенным обзором получила положительную оценку летчиков и была рекомендована для применения на всех самолетах истребительного типа.

Самолеты Як-7Б М-105ПФ, предназначенные для работы в системе ПВО, дополнительно оборудовались радиополукомпасом РПК-10, посадочной фарой ФС-155 на левой консоли крыла и электросветовой сигнализацией убранного положения шасси. Як-7Б МПВО выпускались в следующих количествах: каждый 10-й, каждый 100-й или сериями по 5...10 машин. В систему ПВО ежемесячно поставлялись 20 самолетов Як-7Б. 



 ЛТХ:
Модификация   Як-7Б
Размах крыла, м   10.00
Длина, м   8.50
Высота, м   2.75
Площадь крыла, м2   17.15
Масса, кг  
  пустого самолета   2490
  нормальная взлетная   3010
Тип двигателя   1 ПД М-105ПФ
Мощность, л.с.   1 х 1180
Максимальная скорость , км/ч  
  у земли   514
  на высоте   570
Практическая дальность, км   645
Скороподъемность, м/мин   862
Практический потолок, м   9900
Экипаж, чел   1
Вооружение:   одна 20-мм пушка ШВАК (боезапас 120 снарядов) и
 два 12.7-мм пулемета УБС с боезапасом 400 патронов (левый пулемет - 260, правый - 140).
 в перегрузку под крылом можно было подвешивать шесть РС-82 или две бомбы от 25 до 100 кг каждая.


 Доп. информация :


  Чертеж "Яковлев Як-7Б (1)"
  Чертеж "Яковлев Як-7Б (2)"
  Фотографии:

 Як-7Б
 Як-7Б
 Як-7Б
 Як-7Б
 Як-7Б
 Як-7Б
 Як-7Б в НИИ ВВС
 Як-7Б
 Як-7Б с РС-82
 Як-7Б в зимней окраске
 Як-7Б в зимней окраске
 Як-7Б
 Як-7Б
 Як-7Б
 Як-7Б
 Як-7Б
 Як-7Б
 Як-7Б
 Як-7Б
 Як-7Б
 Як-7Б
 Як-7Б
 Як-7Б
 Модернизированный Як-7Б поздних серий
 Модернизированный Як-7Б поздних серий
 Модернизированный Як-7Б поздних серий
 Модернизированный Як-7Б поздних серий
 Як-7Б с АФА
 Як-7Б с АФА
 Кабина Як-7Б

  Схемы:

 Як-7Б
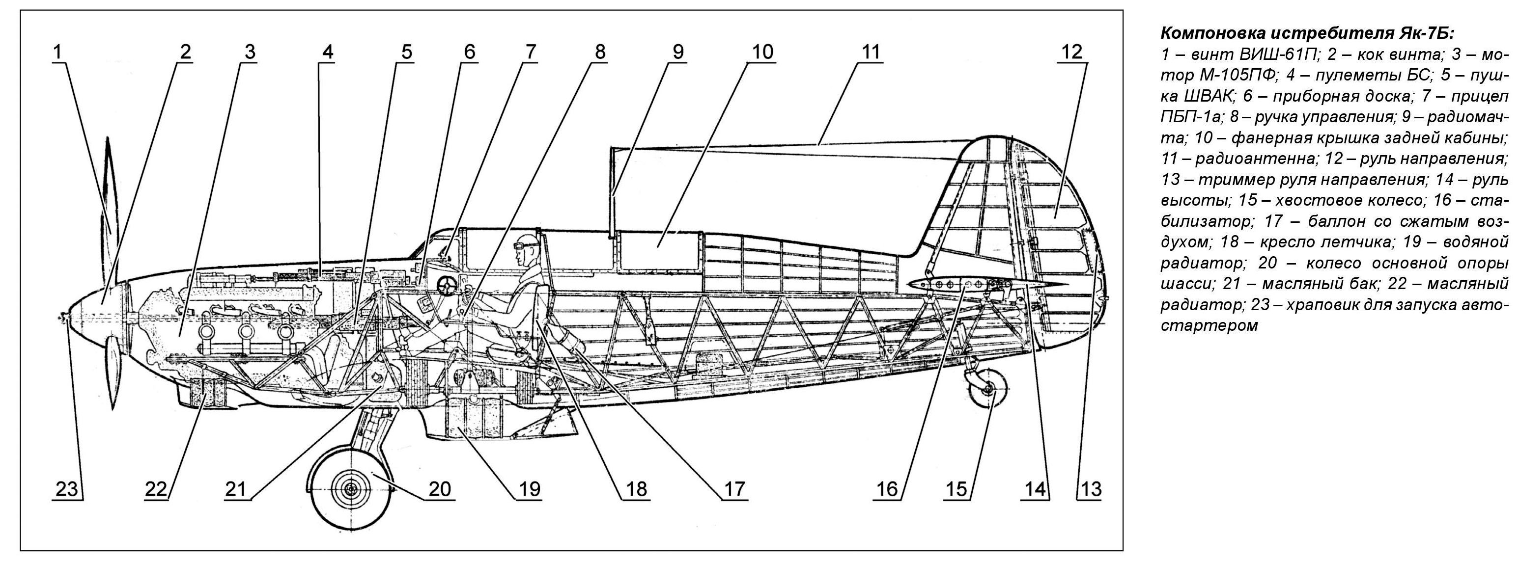
 Компоновочная схема

  Варианты окраски:

 Як-7Б Ленинградский фронт
 Як-7Б
 Як-7Б  29-го гвиап
 Як-7Б  434-го иап
 Як-7Б   976-го иап Прибалтийский фронт

 



 

Список источников:

Яуза. Николай Якубович. Боевые самолеты Яковлева
Эксмо. Сергей Кузнецов. Як-7. Истребитель Тотальной Войны
А.Т. Степанец. Истребители ЯК периода Великой Отечественной войны
АвиаКоллекция 2017-03. Н.В. Якубович. Истребитель Як-7
Авиация и Время 1996-02. Константин Косминков. Многоликий Як-7
Самолеты Мира 1995-02. Вячеслав Кондратьев. "Великолепная Семерка"
Авиация и Космонавтика 1999-05. Михаил Никольский. Як-истребитель
Крылья Родины 1988-05. Вячеслав Кондратьев. Як-7. Три эскиза
Шавров В.Б. История конструкций самолетов в СССР 1938-1950 гг.
Симаков Б.Л. Самолеты страны Советов. 1917-1970
Энциклопедия-справочник. Самолеты страны Советов
Midland. Y.Gordon, D. Komissarov, S. Komissarov. OKB Yakovlev
Putnam. Bill Gunston, Yefim Gordon. Yakovlev Aircraft since 1924
Midland. Red Star 5. Yefim Gordon, Dmitriy Khazanov. Yakovlev's Piston-Engined Fighters
Midland. Yefim Gordon, Dmitri Khazanov, Alexander Medved. Soviet Combat Aircraft of the Second World War
Monografie Lotnicze 47. Robert Bock. Jak-7, Jak-9
Squadron/Signal 1078. Hans-Heiri Stapfer. Yak fighters in action
Le Fana de l'Aviation 1994-09-10. K.Y. Kosminkov. Le Yak-7 aux multiples visages
AeroJournal Horse-Serie 29. Herbert Leonard. Les chasseurs Yakovlev
Антология Як. (Airfield.narod.ru)


Уголок неба. 2025 



 

  Реклама: